Zum Inhalt springen
Kartonmodellbau Online Logo
  • Start
  • Aktuelles
  • Kunst + Karton
    • Black, Kell-Alexander
    • Casebere, James
    • Heerich, Erwin
  • Material
    • Finnische Holzpappe
  • Modellbogen
    • Designer-Biographien
      • Brandt, Peter
      • Neubert, Gerhardt
      • Siegmund, Hubert
      • Zarkov Dr., Emil
    • Diverse Hrsg.
      • Agustín & Arribas
      • Bahnverlag
      • Bartoš, Milan
        • Mariä Himmelfahrt Letohrad-Orlice (Geiersberg/CZ)
        • Mariä Himmelfahrt RAPOTIN, CZ
      • Baud – Vier Stadthäuser
      • Dragostinov, L.
        • Dampflok KLAS DII
      • Güllert Werkstudio
      • Historisches Dorf 1920
      • Jung, Rolf – Archtitekur
      • MAKIT – Brüssel
    • Modellportraits 2004-2009
    • MTP-Modelle
      • Aborthäuschen 1:220
      • Design + Layout
        • 2D-Geometrie
      • Diesellok Gravita 10 BB
      • I.G. KartonModell
      • Isartor (München)
      • KKW DWR 1300 MW
      • KKW EPR Olkiluoto III
      • Kleiner Bahnhof
      • St. Lorenz – Nürnberg
      • St. Paulus – Münster
    • Publikationen
    • SCHREIBER Bogen
      • 01-Fahrzeuge
        • DER „ADLER“ 1:20
        • JFS 715 Württemb. T-3
        • JFS 72214 »Blue Star«
        • JFS 739 Ju 52 3/m
        • JFS 765 Deutz TLF 16
      • 02-Profanbauten
        • JFS 700 Maximilianeum
        • JFS 72198 Forchheim
        • JFS 750 Bärenfels
        • JFS 754 Caracalla
        • JFS Schattenburg
        • Schloss Lichtenstein
        • Schule Partenkirchen
      • 03-Sakralbauten
        • Dom zu Paderborn
        • JFS 655 Kölner Dom
        • JFS 701 Stephansdom
        • JFS 72417 Speyer
        • JFS 794 Stiftskirche
        • JFS 813 Neschholz
        • JFS Ägypt. Tempel
        • JFS 770 Limburger Dom
      • 04-Luftfahrzeuge
        • JFS-71061 F-100 A
      • Neu 2018
      • Neu 2019
      • Neu 2020
      • Neu 2021
      • Neu 2022
      • Neu 2023
      • Neu 2024
      • Neu 2025
      • Neu 2026
    • Science-Fiction
      • ALIEN 4 Resurrection
    • Vyškovský, Richard
      • Eisenbahn
        • Bahnhof
        • Bahnwärterhaus
        • Brückenstellwerk 1:140
        • Haltepunkt
        • Kleiner Bahnhof
        • Lokschuppen 1:140
      • Fahrzeuge
        • abc-Caterpillar 773F
        • abc-M20
        • abc-MERKAVA II
        • abc-TATRA 815 VE 1:32
      • Gebäude
        • 3-Seiten Hof
        • abc-Spiegellabyrinth
        • Burg Lipnice (Lipnitz)
        • Burg Rožmberk
        • Lichnice (Lichtenburg)
        • Schloss Blatná
        • Schloss Neuhaus
        • Schloss Pohansko
        • Trebiz Vierkanthof
  • Referenzen
  • Impressum
    • Datenschutz
  • Menü

DER „ADLER“ 1:20

DER „ADLER“, 1:20 Schreiber-Bogen (1985) JFS-72215
designed by mtp-studio thomas pleiner 1984-1985

 

JFS-72215-ADLER-IMG_4777
JFS-72215-ADLER-IMG_4778
JFS-72215-ADLER-IMG_4781
JFS-72215-ADLER-IMG_4776
JFS-72215-ADLER-IMG_4785
jfs-72215-ADLER-IMG_4786
JFS-72215-ADLER-IMG_4793
JFS-72215-ADLER-IMG_4797
JFS-72215-ADLER-IMG_4800
JFS-72215-ADLER-IMG_4801
JFS-72215-ADLER-IMG_4804
JFS-72215-ADLER-IMG_4806
JFS-72215-ADLER-IMG_4808
JFS-72215-ADLER-IMG_4813
JFS-72215-ADLER-IMG_4815
JFS-72215-ADLER-IMG_4818
JFS-72215-ADLER-IMG_4819
JFS-72215-ADLER-IMG_4824
JFS-72215-ADLER-IMG_4825
JFS-72215-ADLER-IMG_4829
JFS-72215-ADLER-IMG_4830
JFS-72215-ADLER-IMG_4849
JFS-72215-ADLER-IMG_4837
JFS-72215-ADLER-IMG_4842

1 2 ►
small-IMG_4971
small-IMG_4981
IMG_5010-small
IMG_5008-small
small-IMG_4981-a
small-IMG_4986
small-IMG_4979
small-IMG_4974
small-IMG_4972

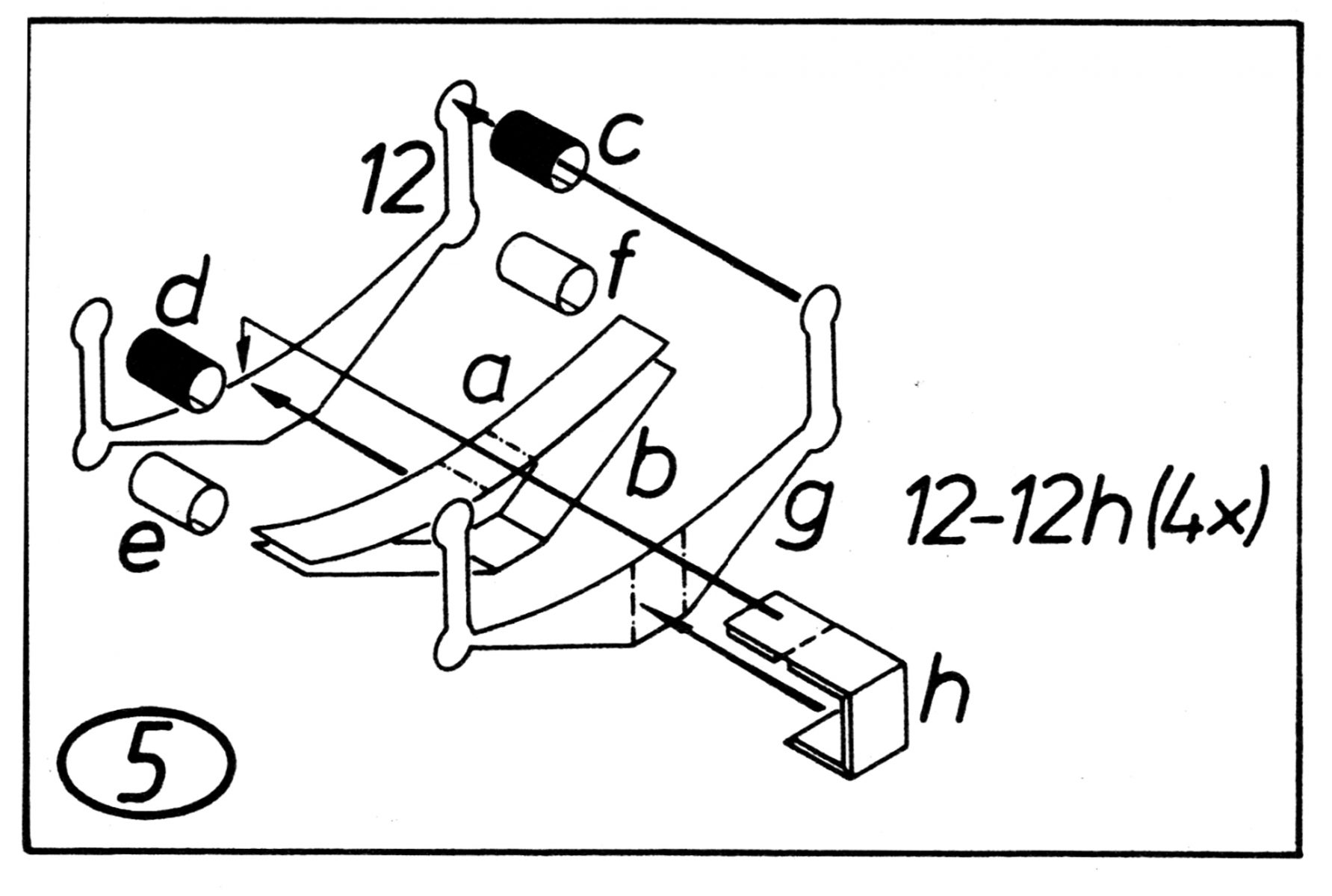
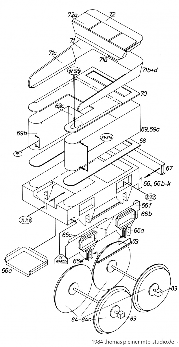
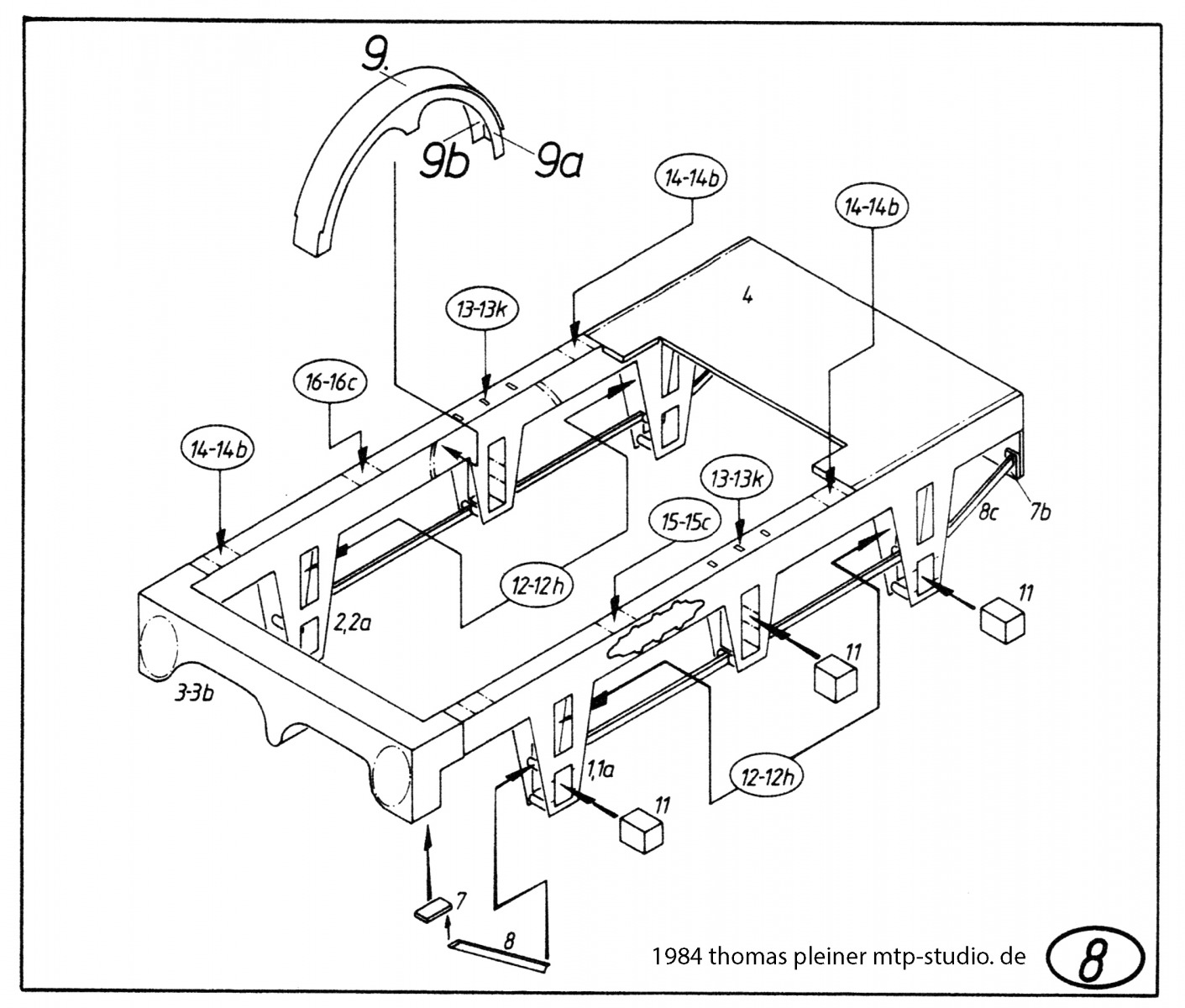
WEB-ADLER-7221558-SKIZZE-10
WEB-ADLER-7221558-SKIZZE-05
WEB-ADLER-7221558-SKIZZE-09
WEB-ADLER-7221558-SKIZZE-01
WEB-ADLER-7221558-SKIZZE-11-a
WEB-ADLER-7221558-SKIZZE-08
WEB-ADLER-7221558-SKIZZE-14
WEB-ADLER-7221558-SKIZZE-13
WEB-ADLER-7221558-SKIZZE-15
WEB-ADLER-7221558-SKIZZE-16-23
WEB-ADLER-7221558-SKIZZE-35-36
WEB-ADLER-7221558-SKIZZE-39

https://kartonmodelle.org/wp-content/uploads/2025/10/2025-10-31-ADLER-Animation-05_00499_1.mp4
©1977 - 2025 thomas pleiner • mtp-studioDatenschutz
Ein Theme von SiteOrigin
WordPress Cookie Plugin von Real Cookie Banner